Patents
This section features patents that include contributions from members of the SurfLabX team, highlighted with their names in bold.
Disclaimer: Please note that not all listed patents were developed as part of SurfLabX projects. Many reflect the past contributions of individual team members during their tenure with previous employers. This collection is intended to demonstrate the innovative capabilities and the commitment to scientific rigor of our team members. Our aim is to assure customers of the high level of expertise and meticulousness they can expect in their engagements with us. For detailed information on the patent applicant, the author affiliations, please access the official patent pages through the provided and hyperlinked patent numbers.

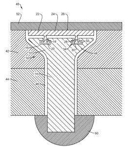
Applicant: Airbus Defence and Space GmbH
Inventor: Christian HERRLES
Abstract: In order to provide an improved fastener (10) that reduces the risk of damage to an adjacent surface, like a sealant or cover layer, the invention proposes a fastener (10) preventing the transmission of torque from the fastener shank portion (14) through the fastener head portion (12) to the cover layer (52). The fastener head portion (12) comprises a rotatable member (22) that is supported, so as to be rotatable relative to the fastener shank portion (14), and a stationary member (16) that is configured to be immovable relative to the fastener shank portion (14) about its longitudinal axis, and the rotatable member (22) is attached to the stationary member (16).

Applicants: Airbus Defence and Space GmbH, Airbus Operations GmbH and University of Zürich
Inventors: Christian HERRLES, Thomas BÜRGER, Simon SCHELLE, Christian BARTELS, Elmar BONACCURSO, Alexandre LAROCHE, Stefan SEEGER and Davide BOTTONE
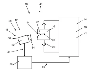
Abstract: In order to improve de-icing systems for an aircraft (10), a de-icing system (26) is proposed. The de-icing system (26) comprises a thin film heating foil (28) that is adhesively bonded to the leading edge portion (24). The heating foil (28) comprises a plurality of heating elements (36). In addition, an ice detecting device (30) is provided, which is able to detect the presence of ice on the leading edge portion (24) by optical, acoustical or thermal means. The de-icing system (26) has a control device (34), which is configured for periodically and selectively energizing the heating elements (36). To further improve the performance of the de-icing system (26), a silicone nanofilament network (SNF) is added as a superhydropho-bic coating (98) on a microperforated skin (100) and within the microperforations (94).

Applicant: Airbus SAS
Inventors: Clémentine BELAUD, Vittorio VERCILLO and Elmar BONACCURSO
Abstract: In order to improve water and ice repellent characteristics of a leading edge portion (28) of an airfoil (16), a method for modifying a metallic substrate (32) is proposed. The leading edge portion (28) is made of an aluminium alloy or aluminium. Initially, the leading edge portion (28) is cleaned with a cleaning agent. The leading edge portion (28) is anodized in a bath of oxalic acid. Furthermore, initial nanopores formed in anodization are widened using phosphoric acid to a desired target dimension. The metallic oxide layer (36) is coated with chemical hydrophobization agent to further increase the superhydrophobicity. As a result, the leading edge portion (28) is morphologically and chemically functionalized for repelling water and ice.

Applicant: Airbus Defence and Space GmbH
Inventors: Christian HERRLES and Luigi ALOE
Abstract: Um die Herstellung komplexer Verbindungsfugen (10) zwischen Luftfahrzeugbauteilen (14, 16) zu verbessern, wird vorgeschlagen ein Applikationsdüsenelement (38) mit einer Metallschichtstruktur (64) zu überziehen. Nach zunächst chemischer Abscheidung der ersten Metallschicht, können weitere Metallschichten galvanisch aufgetragen werden. Die Metallschichtstruktur (64) erlaubt eine Erwärmung der zum Füllen der Verbindungsfuge (10) vorgesehenen thixotropen Füllmasse lediglich in einem schmalen Randbereich (42). Der schmale Randbereich (42) fungiert als Gleitschicht und erlaubt es dem nicht erwärmten Anteil der Füllmasse (18) gleichmäßiger als bisher aus dem Düsenelement (38) auszutreten. Ferner wird eine Applikationsvorrichtung (30) vorgeschlagen, mittels der die Füllmasse (18) gleichmäßig auf den Fugenbereich (10) aufgebracht werden kann.

Applicant: Airbus Defence and Space GmbH
Inventors: Christian HERRLES and Thomas BÜRGER
Abstract: Vorrichtung zum Materialabtrag von einer Oberfläche (110a) einer Anordnung (110) aus Profilelementen (12, 14) und einem dazwischen liegenden Übergangsbereich (46) mit ausgehärteter Füllmasse, um laminare Strömungseigenschaften der Oberfläche (110a) zu bewirken, umfassend eine Befestigungseinrichtung (120) zum Befestigen eines Werkzeugs (125) zur Materialabtragung, und eine Führungseinrichtung (130) zum Führen der Vorrichtung (100) an mindestens einem Profilelement (12, 14) über mindestens einen Teilbereich der Anordnung (110), um den Verlauf ihrer Oberfläche (110a) an den Verlauf der Oberfläche des Profilelements (12, 14) anzupassen.

Applicant: Airbus Defence and Space GmbH
Inventors: Christian HERRLES, Romain PLANCHE and Elmar BONACCURSO
Abstract: Verfahren zum Schutz zumindest eines Bereiches einer Oberfläche eines Luftfahrzeugs vor Verunreinigung mit Insekten und/oder vor Erosion durch Schwebstaub in zumindest einem Teil der Startphase des Luftfahrzeugs, mit den Schritten:Applizieren (V1) einer wässrigen Lösung auf dem zumindest einen Bereich einer Oberfläche des Luftfahrzeugs;Beschleunigen (V2) des Luftfahrzeugs nach der Applikation der wässrigen Lösung; undmechanisches Ablösen (V3) der wässrigen Lösung mit eventuell daran anhaftenden oder darin umschlossenen Fremdkörpern;wobei die wässrige Lösung umfasst:Kilfrost ABC-S Plus; undWasser,wobei die wässrige Lösung Kilfrost ABC-S Plus und Wasser in einem Mischungsverhältnis von 85-55 Vol.% Kilfrost ABC-S Plus; und 15-45 Vol.% Wasser enthält, wobei sich in der wässrigen Lösung die Mengen auf 100 Vol.% ergänzen.

Applicant: Airbus Defence and Space GmbH
Inventors: Christian HERRLES and Thomas BÜRGER
Abstract: In order to allow or improve a laminar air flow in a transition region between aerodynamic profile elements, a pressure plate arrangement is proposed. The pressure plate arrangement comprises a pressure plate body and at least one cover strip, in particular a sealing strip. The pressure plate body has an outlet region from which free-flowing sealant can exit during pressing. The cover strip already contains cured sealant and presses the free-flowing sealant flat in order to be able to form the transition region.

Applicants: Airbus Defence and Space GmbH and Airbus Operations GmbH
Inventors: Christian HERRLES, Nikolai STRIFFLER, Norbert KARPEN, Elmar BONACCURSO, Jürgen WEHR, Susanne HOLTEMEYER, Silke GRÜNKE, Nicole JORDAN, Franz Xaver HALLWEGER
Abstract: According to the present invention, a system and a method for evaluating performance of a porous skin of an aircraft is presented. The aircraft comprises at least the porous skin, and a boundary layer control system. The performance evaluation system is characterized by a first sensor providing data related to the performance of the porous skin. The performance evaluation system is further configured to clean the porous skin based on the performance of the porous skin determined using the data received from the first sensor in order to ensure that the porous skin operates at its maximum capability.

Applicants: Airbus Defence and Space GmbH and Airbus SAS
Inventors: Vittorio VERCILLO, Raphael DE ANDRADE JORGE; Javier ALEJANDRO MAYÉN GUILLÉN, Alexandre LAROCHE, Ricardo MAIKO UEHOKA ENTZ, Elmar BONACCURSO
Abstract: An analysis system for quantitative blockage analysis of a grid in icing conditions includes an optical sensor, a processor unit and a display unit. The optical sensor is configured to continuously capture a series of pictures of a grid and to submit each picture to the processor unit. The processor unit is configured to determine a color scale value for each of a number of areas in a field of each picture, to count a number of areas in a particular field of a particular picture that show a color scale value greater than an absolute reference value, to calculate a time remaining until a critical icing condition is reached based on an icing behavior model of the grid, to calculate a warning signal based on the time remaining until the critical icing condition of the grid is reached, and to display the warning signal on the display unit.

Applicant: Airbus Defence and Space GmbH
Inventors: Christian HERRLES, Vittorio VERCILLO, Vitus HOLZINGER, Elmar BONACCURSO and Christian PLANDER
Abstract: Die Erfindung betrifft eine Steuervorrichtung 12 zum Steuern einer Rissfortschrittsversuchsvorrichtung 10 zum Durchführen von Rissfortschrittsversuchen, umfassend eine Erfassungs- und Auswerteeinrichtung 28 zum Erfassen eines Risses 30, 30a, 30b an einem Prüfkörper 16 sowie zum Auswerten des Risses 30, 30a, 30b, wobei die Steuervorrichtung 12 dazu ausgebildet ist, eine Lastaufbringungseinrichtung 14 der Rissfortschrittsversuchsvorrichtung 10 zu regeln.

Applicant: Airbus Defence and Space GmbH
Inventors: Christian HERRLES, Elmar BONACCURSO, Beatriz RICO-OLLER, Meinhard MEYER, Oliver ROHR, Heiko FIETZEK, Jürgen WEHR, Sarah BAGEHORN, Lothar MIKA, Sonja NIXON, Martin ENGLHART, Dietrich JONKE, Sophie SENANI, Fabien BRAMBILLA, Stéphane SUEL and Marie-Paule GUILLOU
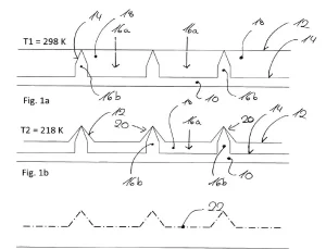
Abstract: Die vorliegende Erfindung schafft eine Folie zum Ausbilden einer Luftströmungsfläche (12) an einem Körper, Außenhüllenteile für Fahrzeuge, einen Propeller für eine Windkraftanlage und Verfahren zum Ausbilden einer Luftströmungsfläche (12) an einem Körper. Die Gegenstände der vorliegenden Erfindung bewirken an einer zu einer Luftströmungsfläche (12) ausgerichteten oder die Luftströmungsfläche (12) zumindest teilweise bildenden Grenzfläche (14) eine Vielzahl von Vertiefungen (16a) und/oder Vorsprüngen (16b) aus mindestens einem Material mit mindestens einem ersten thermischen Ausdehnungskoeffizienten, wobei die Vertiefungen (16a) und/oder Zwischenräume zwischen benachbarten Vorsprüngen (16b) zumindest teilweise so mit mindestens einer Füllmasse (18) gefüllt sind, dass die Luftströmungsfläche (12) zumindest teilweise aus der mindestens einen Füllmasse (18) gebildet ist, wobei die mindestens eine Füllmasse (18) mindestens einen zweiten thermischen Ausdehnungskoeffizienten aufweist, welcher zumindest zwischen 243 Kelvin und 273 Kelvin größer als der mindestens eine erste thermische Ausdehnungskoeffizient ist.

Applicant: Airbus Defence and Space GmbH
Inventors: Christian HERRLES, Jakob WISSNER, Ronald HAUSER and Meinhard MEYER
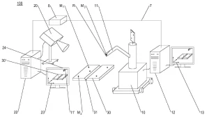
Abstract: Vorrichtung (110; 210; 310; 410) zum Erfassen einer Oberfläche eines Messobjekts (1) unter vorgebbaren Bedingungen, mit:einer Fluidbereitstellungseinrichtung (112), welche dazu ausgelegt ist, ein Fluid (5; 105) mit vorgebbaren Eigenschaften bereitzustellen;einer Leitungseinrichtung (14; 314), welche dazu ausgelegt ist, das bereitgestellte Fluid (105) um das Messobjekt (1) herum anzuordnen, um eine Umgebung mit den vorgegebenen Eigenschaften um das Messobjekt (1) herum zu schaffen; dadurch gekennzeichnet, dassdie Vorrichtung (110; 210; 310; 410):ein Messfenster (120) umfasst, welches in der Leitungseinrichtung (14; 314) ausgebildet ist und welches dazu ausgelegt ist, ein optisches Erfassen der Oberfläche des Messobjekts (1) durch das Messfenster (120) hindurch zu ermöglichen, wobei das Messfenster (120) eine Glasscheibe (122) umfasst;eine Sensoreinrichtung (160) umfasst, welche dazu ausgebildet ist, mindestens eine Eigenschaft des Fluids (5; 105) in der Leitungseinrichtung (14; 314) zu messen;eine Temperierungseinrichtung (130; 440) umfasst, welche dazu ausgelegt ist, die Glasscheibe (122) auf eine vorgebbare Betriebstemperatur zu bringen und/oder auf der Betriebstemperatur zu halten; undeine Recheneinrichtung (162) umfasst, welche dazu eingerichtet ist, die Betriebstemperatur der Glasscheibe (122) basierend auf der mindestens einen, durch die Sensoreinrichtung (160) gemessenen Eigenschaft des Fluids (105) in der Leitungseinrichtung (14; 314) anzupassen.

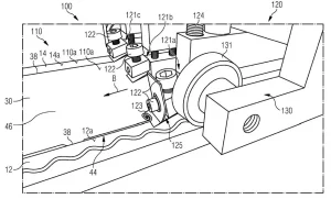
Applicant: Airbus Defence and Space GmbH
Inventors: Christian HERRLES, Jan Roman HÖNNIGE, Michael TREITZ and Meinard MEYER
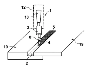
Abstract: A method for determining a surface profile change in a filling compound in a recess includes determining a first surface profile of a surface of the filling compound across the recess at an initial temperature; cooling or heating the recess comprising the filling compound to a predetermined measurement temperature; determining a second surface profile of the surface of the filling compound across the recess at the measurement temperature; and comparing the second surface profile with the first surface profile to determine the surface profile change.

Applicant: Airbus Defence and Space GmbH
Inventors: Christian HERRLES, Jens FUHRMANN, Franz Xaver HALLWEGER and Meinard MEYER
Abstract: An extrusion device and method for filling a groove with a filling compound. The extrusion device includes an extrusion head which is designed or configured to spring in and out in an extrusion direction of the extrusion device in a manner that is spring-resilient in the extrusion direction.

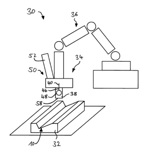
Applicant: Airbus Defence and Space GmbH
Inventors: Christian HERRLES, Jens FUHRMANN and Meinhard MEYER
Abstract: A method to control operation of a robot includes generating at least one virtual image by an optical 3D measurement system and with respect to a 3D measurement coordinate system, the at least one virtual image capturing a surface region of a component. The method further includes converting a plurality of point coordinates of the virtual image into point coordinates with respect to a robot coordinate system by a transformation instruction and controlling a tool element of the robot using the point coordinates with respect to the robot coordinate system so as to implement the operation.